本站 8 月 13 日消息,科技媒体 AppleInsider 今天(8 月 13 日)发布博文,报道称苹果公司获批一项新专利,正探索将 Vision Pro 头显的遮光密封圈(Light Seal)升级为触控感应表面(具备触摸感应能力的材料或结构,可识别用户接触、按压或滑动动作),以在不增加设备体积或重量的前提下拓展操控方式。

本站注:遮光密封圈是用户佩戴 Vision Pro 时贴合面部的柔性组件,用于隔绝外部光线,营造沉浸式视觉环境。
苹果 Vision Pro 作为主打手势交互的头显,目前物理控制极为有限,仅配备类似 Apple Watch 的数码表冠和 iPhone 式的顶部按钮,苹果为拓展操作维度,正在研究将设备的遮光密封圈转化为触敏控制面。
一项新获批的专利“触敏输入表面”显示,苹果拟在头戴装置的外覆材料中集成触控感应层,让原本仅用于隔绝外界光线的结构兼具用户输入功能。
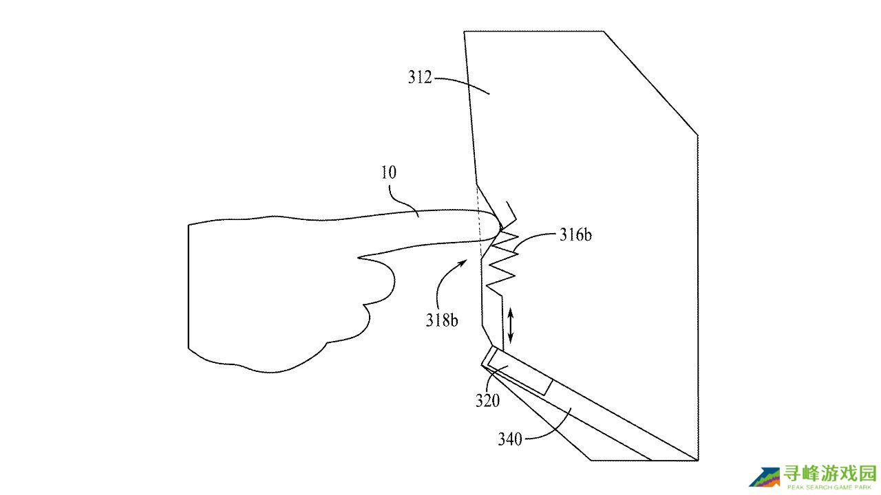
该专利聚焦于改造遮光层与边框,提出在框架内嵌入应变计,以检测用户按压带来的形变。同时,遮光材料的织物层也可集成应变传感器,支持触摸或滑动操作,意味着用户可能通过轻按或滑动头戴设备侧面实现音量调节、菜单切换等功能。

为解决定位难题,苹果建议在视野内显示视觉提示,引导用户找到触控区域。专利还提及可在遮光圈内侧设置 LED,作为物理指引。虽然未明确触发机制,但推测设备可结合动作感知 —— 如检测用户抬手意图操作时,自动激活引导提示,提升交互准确性。
尽管专利已获批,尚无证据表明该设计将直接用于下一代产品。它更多体现苹果在人机交互上的持续探索:在不牺牲舒适性与外观的前提下,最大化现有结构的功能潜力。